共计 563 个字符,预计需要花费 2 分钟才能阅读完成。
前段时间玩了几款 web 端的产品,在本地环境用了后感觉不错,想着放到线上来,结果发现用了 3 年的这款虚拟主机配置版本跟不上。于是就有了搬家换服务器的想法。
在阿里云和腾讯云之间犹豫了好几天,最终碰巧遇到腾讯云在举行 3 周年促销,于是就购买了腾讯云服务器的服务。
也是第一次尝试在 Linux 系统下做各项操作。安装了 CentOS 操作系统配置了 nginx、php 等环境。期间遇到了不少坑,采用先跟网上主流教程一步步学着走,遇到跟教程不一样的情况再单独 Google 问题,然后再总结梳理。最后终于搬家成功了。
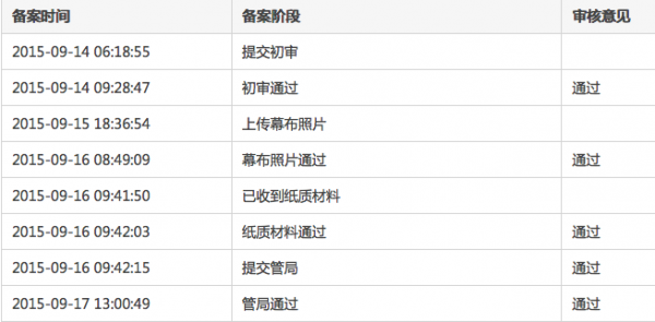
因为域名一直有备案,所以更换接入商重新备案的速度也是相当快。星期一早上填写了在线申请备案的表格,然后中午就审核通过并提示进行下一步邮寄操作,中午填好了备案拍照背景墙的邮寄地址后,腾讯云那边下午就发了顺丰快递。星期三我将打印出来的备案申请表格发了顺丰给腾讯云备案部门,同时当天中午就收到了前一天从北京寄来的备案拍照背景墙材料,晚上拍完照就进行了在线提交。星期四早上系统提示照片提交审核通过,中午提示收到了邮寄的申请表格,下午系统提示已经提交给管局审核。星期五就收到短信说已经通过管局审核成功更新了备案信息。

备案过程顺利的让我不敢相信。
接下来会在博客里陆续更新几篇文章,记录这次服务器搬家过程用到的知识内容,方便日后再想换地方的时候能用的上。